Lampa metalohalogenkowa bez odbłyśnika MASTER MHN-SA 1800W/956 (P)SFC 400V | 928079315130 Philips
Lampa metalohalogenkowa bez odbłyśnika MASTER MHN-SA 1800W/956 (P)SFC 400V
Informacja o Produkcie
Alternatywny kod produktu: 20076100
- Producent Philips
- Seria producenta Master
Lampa metalohalogenkowa bez odbłyśnika
- Moc źródła światła 1850 W
- Napięcie lampy 185 - 220 V
- Strumień świetlny 160000 lm
- Trzonek (P)SFC
- Filtr UV Tak
- Wskaźnik oddawania barw (CRI) 80-89
- Temperatura barwowa 5600 K
- Barwa światła zgodnie z EN 12464-1 Chłodna > 5300 K
- Skuteczność świetlna 86 lm/W
- Kształt bańki Cylindryczny
- Materiał jarznika Kwarc
- Pozycja pracy p15
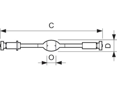
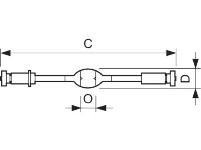
- Średnica 40 mm
- Długość całkowita 361 mm
- Wymagany zewnętrzny zapłonnik Tak
- Wymagany zewnętrzny statecznik Tak
- Wymagana oprawa zamknięta Tak
- Lampa solaryjna Nie
- Kolor Biały
- Barwa światła (zgodnie z ILCOS) 956
- Model Przezroczysty
- Typ bańki Inne
- Klasa efektywności energetycznej A+
- Zużycie energii przez 1000 godzin 2035 kWh
- Średnia trwałość znamionowa 6100 h
Do pobrania
Wszystkie obrazy

